TIÊU CHUẨN QUỐC GIA
TCVN 10239-1:2013
ISO 1518-1:2011
SƠN VÀ VECNI - XÁC ĐỊNH ĐỘ BỀN CÀO XƯỚC - PHẦN 1: PHƯƠNG PHÁP GIA TẢI KHÔNG ĐỔI
1. Phạm vi áp dụng
- Phạm vi áp dụng với lớp phủ đơn lớp hoặc hệ phủ đa lớp của sơn, vecni hoặc sản phẩm liên quan bằng bút thử xước với một tải trọng quy định ở các điều kiện xác định.
2. Nguyên tắc
- Dùng bút thử xước đã được gia tải với tải trọng quy định vạch lên lớp phủ với tốc độ không đổi.
- Kiểm tra vết xước xem lớp phủ có bị xuyên theo mức độ được quy định đối với một tải trọng thử quy định (phép thử đạt/không đạt).
3. Thiết bị
- Lấy một mẫu của sản phẩm để thử theo quy định trong TCVN 2090 (ISO 15528).
- Kiểm tra và chuẩn bị từng mẫu để thử theo quy định trong TCVN 5669 (ISO 1513).

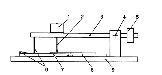
Hình 1: Thiết bị thử xước - Phiên bản có vật nặng gắn với bút thử xước
| 1. Vật nặng | 6. Thiết bị hạ thấp |
| 2. Bút thử xước | 7. Tấm thử |
| 3. Thanh tải trọng | 8. Giá đỡ tấm thử |
| 4. Trục đỡ thanh tải trọng | 9. Tấm đế |
| 5. Đối trọng |
4. Tấm thử
4.1. Nền
- Tấm thử phải được làm bằng thép có độ dày 0,7 mm đến 1,0 mm. Tấm thử tốt nhất có kích cỡ 200 mm x 100 mm.
4.2. Chuẩn bị và sơn phủ
- Chuẩn bị từng tấm thử theo TCVN 5670 (ISO 1514).
- Phương pháp sơn lớp phủ phải được thực hiện theo quy định của nhà sản xuất hoặc theo thỏa thuận giữa các bên liên quan và phải được ghi lại trong báo cáo thử nghiệm.
4.3. Chiều dày lớp phủ
- Xác định độ dày của lớp phủ đã khô được quy định trong TCVN 9760 (ISO 2808).
- Độ dày lớp màng khô phải theo quy định của nhà sản xuất hoặc theo thỏa thuận giữa các bên liên quan và phải được ghi lại trong báo cáo thử nghiệm.
5. Cách tiến hành
5.1. Điều kiện thử
- Tiến hành phép thử tại (23 ± 2) °C và độ ẩm tương đối (50 ± 5) %.
5.2. Quy trình thử chung
Bước 1: Kẹp tấm thử đã được phủ trên giá đỡ tấm thử và để bề mặt phủ hướng lên trên.
Bước 2: Cố định bút thử xước với thanh tải trọng, bút thử xước vuông góc với tấm thử.
Bước 3: Với bút thử xước chưa gia tải, cân bằng thanh tải trọng bằng đối trọng.
Bước 4: Điều chỉnh tải trọng thử đến giá trị yêu cầu.
Bước 5: Kích hoạt thiết bị hiển thị và kiểm tra để đảm bảo thiết bị hoạt động tốt.
Bước 6: Khởi động động cơ của dụng cụ và cho phép thực hiện vết xước trên lớp phủ.
Bước 7: Bỏ tấm thử và kiểm tra ngay vết xước về mức độ đâm xuyên so với quy định.
5.3. Quy trình quy định cho tải trọng đơn (thử nghiệm “đạt/không đạt”)
Thực hiện quy trình quy định trên hai tấm thử, mỗi tấm thử nghiệm ba lần.
- Nếu trong sáu lần thử không có lần nào lớp phủ bị đâm xuyên vượt mức quy định thì báo cáo kết quả là “đạt".
- Nếu có từ một lần thử trở lên trong sáu lần thử, lớp phủ bị đâm xuyên vượt quá mức quy định thì báo cáo kết quả là “không đạt".
6. Báo cáo thử nghiệm
Báo cáo thử nghiệm phải bao gồm ít nhất các thông tin sau:
- Tất cả các chi tiết để xác định sản phẩm (nhà sản xuất, mã sản phẩm, số mẻ, v.v...).
- Viện dẫn tiêu chuẩn này.
- Tải trọng quy định được áp dụng đối với bút thử xước trong quá trình thử, nếu có thể áp dụng được (thử nghiệm “đạt/không đạt”).
- Độ sâu đâm xuyên quy định đối với bút thử xước.
- Kết quả thử nghiệm:
+ Đối với lớp phủ có bị đâm xuyên hay không (“đạt/không đạt").
+ Tải trọng tối thiểu mà tại đó bút thử xước đâm xuyên lớp phủ.
- Bất kỳ sai khác nào so với phương pháp thử được quy định.
- Ngày thử nghiệm.
Trên đây là giới thiệu về tiêu chuẩn TCVN 10239-1:2013 – xác định độ bền cào xước của màng sơn tại Trung tâm nghiên cứu phát triển vật liệu mới Mega Việt Nam. Chúng tôi nhận đánh giá độ bền cào xước và gửi lại kết quả tin cậy, nhận xét và kết luận đầy đủ cho quý khách hàng trước khi thẩm định chất lượng chính thức tại các cơ quan chức năng.
Mọi thông tin vui lòng liên hệ:
Văn phòng: Tầng 2, A2-IA20, KĐT Nam Thăng Long, đường Phạm Văn Đồng, P.Đông Ngạc, Q. Bắc Từ Liêm, TP. Hà Nội, Việt Nam
Trung tâm nghiên cứu: Số 74 - đường Kênh Giữa - thôn Nhuế - xã Kim Chung - huyện Đông Anh - Tp. Hà Nội - Việt Nam.
Website: megaradcenter.com
Tel/Fax: (+84) 24 375 89089 / (+84) 24 375 89098
Email: contact@megavietnam.vn

